Suomen MP Palvelu Oy
   Etusivu      Yamaha YZF R 6 varaosat
     Yamaha YZF R& 2008-2016 varaosat tilaukset/tiedustelut myynti@mppalvelu.fi osoite Karvaamokuja 4 00380 Helsinki p 0400 555885 soitathan ensin
 
 toimitan kaikkia yamahan alkuperäisiä osia, pyydä tarjous
 
   
 YTR6 Ape nokkaketjun kiristin 95e
 
 K&N ilmanputsari YA6008R  103e
 
 DNA ilmanputsari DN-Y6S08-OR  97e
 
KS-Filter ilmanputsari D-YALR005 89,90e
 
Öhlins Takaiskari 0-YA339     1295e 06-2016
 
Öhlins Takaiskari 0-YA361     1319e  06-016
 
 Öhlins takaiskari 0-YA358     1068e  06-2016
 
 Öhlins etuiskarien piston kit 0-FPK107 308e
   
 Öhlin ohjausiskari+asennussarja 0-SD020 587e
 
 Öhlins CartRidgeKit O-FGR152 2100e
 
 Öhlins CartRidgeKit O-FGK202 1133e

Öhlins etujouset 
O-8760-10  128e
O-8760-85  128e
8760-90  128e
O-8760-95 128e
PowerCommander E418-411 06-09 220e
DynoJet  DJ-ESRM Exhaus servo removal  98,70
Dynojet Quickshifter Expansion module DJ-QEM-15  166e
PowerCommander V DJ22-005  408e

C8720 Cometic case rebuild kit 36e sis koppien ja öljypohjan ym muut lohkojen paperi tiivisteet
 

CS ONE S/S Slip-On 35503               570e  huom ei carbon

CS ONE URBAN BRAWLER mattamusta 45513   260e + sisävaimentimet 26528 260e yht 520e
meikltä myös kaikki yamahan alkuperäis varaosat, pyydä tarjous
 
esipumpun osat 2C0-12438-00 akselin tiiviste 37e, 2C0-12428-01- kopantiiviste 7,05, 93306-000004 -laakeri 14,55, 93210-33133 o-rengas 3,40, 
93101-10090 stefa 8,70, 99009-10400 lukkorengas  0,55 

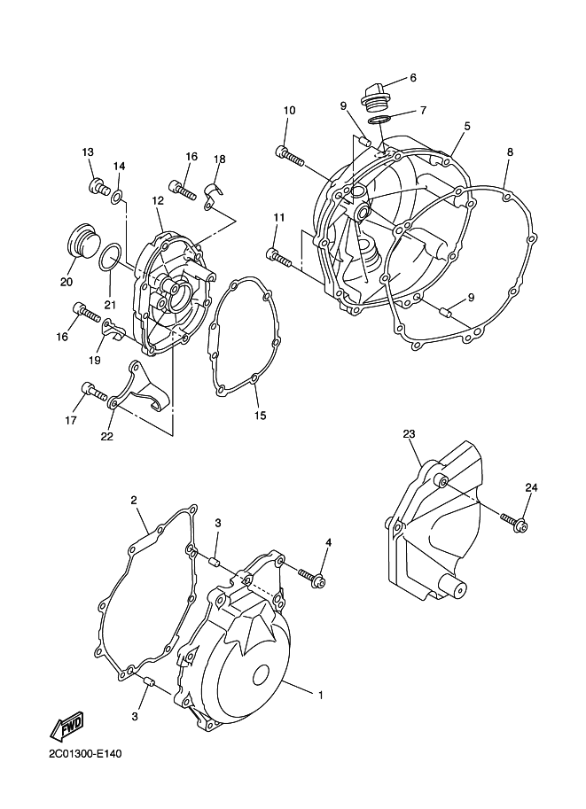
2C0-15461-01 kytkinkopantiiviste 20,10
2C0-15451-01 laturinkopan tiiviste 20,10
2C0-15456-01 öljypumpun koppa  23,45
2C0-13414-01 öljypohjan tiiv,        23,45
   
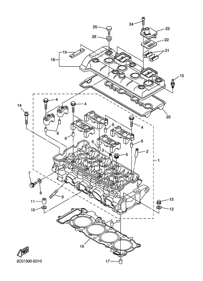
2C0-11193-00 venttiilikopantiiviste 39,00

13S-12111-00-00 imuventtiili 118,65
2C0-12121-00-00 pakoventtiili 124,50
4SV-12119-00-00 venttiilivarrenkumi 9,75 kpl

Takarattaan vaimenninkumit 2C0-25364-00  sopii R6 06-14 R1   12,2  kpl

YEC kannentiiviste 2C0-11181-71 tai 81          105e

-94591-64118 nokkaketju  49,55

-93102-35017 vetoakselin stefa 11,90

akkukotelo 13S-82128-00             35,00
 
-Race säädettävä kytkin ja jarruvipu taittuva   60e pari

-Race säädettävä kytkin ja jarruvipu pari 45e pari

-Etujalkatappi pari tarvike YZF-R 6 99-12                   22e
sopii myös R! 98-014, R6S 03-08

-etukatteen tiki YZF-R6 08-16                                              99e

YZF R6 käytetty kampiakseli, kiertokanget, männät ja laakerit
irroitettu täysin toimivasta moottorista kun tehtiin kisakone YEC Parts osilla
omaan kilpapyörään
kokosetti 300e

kytkinlevyt Yamaha YZF-R 6 2008-2011 kytkinlevysarja      69,00
 
plexi racing tuplakulpa YZF-R 6 2008-2016 Kirkas                50e

Tkahäkki Motoholders Yamaha YZF-R 6 2008-2016 uusi                    400e

Ketjunohjain YZF-R6 2006-2020  2C0-22151-00     61,75

Kytkimen painekansi YZF-R6 2006-2020 2C0-16351-00      116,90

Pääsulake 5JW-82151-10 Yamaha 2001-2021               21,85

Kytkinjousi YZF-R6 2006-2020  90501-22A02       3,55 kpl

Luistokytkimen jousi YZF-R6 2008-2010 13S-16539-00               22,65 kpl

Kytkinlevy YZF-R6 FZ1000 2001-20202 5LV16321-20       22,45 kpl

Kytkimen välilevy Yamahat 86-2020 3J2-16324-00          12,90

Kytkimen välilevy Yamaha 80-2014 YZF-R6 168-16324-00       17,60 kpl

Kytkimen välilevy Yamaha 1979-2018 YZF-R6 168-16325-0             12,15

Paisuntasäiliö Yamaha YZF-R6 2006-2021 2C0-21871-00                       47,00

Kaasuvaijerit Yamaha YZF-R6 2008-2016 13S-26302-00                           42,70

Pakotiivisteet 4FM-14613-00  Yamaha t 1993-2020             11,60 kpl

Moottorinkoppa-öljypumppu Yamaha YZF-R6 2006-2020 2C0-15416-00           113,40

Vesipumpun korjaussarja YZF-R6 2006-2020 2C0-12458-00                  39,20